紳寶D60P0134故障碼怎么消除 紳寶D60故障碼P0134排除方法
故障所屬系統范圍:暫無
適用車型:紳寶D60
中文含義解釋:
P0131:前氧傳感器短路到低電壓
P0132:前氧傳感器短路到高電壓
P0133:前氧傳感器響應過慢
P0134:前氧傳感器斷路
英文含義:暫無
P0134故障碼相關知識:
暫無
故障原因和影響:
P0131:前氧傳感器短路到低電壓
01 可能的故障原因
01-01 前氧傳感器故障。
01-02 前氧傳感器線路故障。
01-03 發動機控制單元故障。
P0132:前氧傳感器短路到高電壓
01 可能的故障原因
01-01 前氧傳感器故障。
01-02 前氧傳感器線路故障。
01-03 發動機控制單元故障。
P0133:前氧傳感器響應過慢
01 可能的故障原因
01-01 前氧傳感器故障。
01-02 前氧傳感器線路故障。
01-03 發動機控制單元故障。
P0134:前氧傳感器斷路
01 可能的故障原因
01-01 前氧傳感器故障。
01-02 前氧傳感器線路故障。
01-03 發動機控制單元故障。
建議及解決方法:
01 DTC檢測步驟:在進行下列步驟之前,確認蓄電池電壓為正常電壓。
01-01 關閉啟動停止按鍵及所有用電器。
01-02 將診斷儀BDS連接至車輛診斷接口上。
01-03 啟動停止按鍵置于“RUN”模式。
01-04 用診斷儀讀取和清除DTC。
提示:使用最新的軟件檢測。
01-05 關閉啟動停止按鍵及所有用電器,3-5 秒后重新將啟動停止按鍵置于“RUN”模式。
01-06 (重新啟動發動機進行路試,使發動機在各工況下運行。)
01-07 用診斷儀讀取DTC。
01-08 如果檢測到DTC,則說明車輛有故障,請進行相應的診斷步驟。
如果沒有檢測到DTC,則說明先前檢測到的故障為偶發性故障。
02 診斷步驟:
提示:故障排除后,重新驗證DTC及癥狀是否存在。
02-01 抽取燃油箱燃油檢查燃油油質是否符合要求。
是
進行第02-02步。
否
清洗燃油系統,更換符合要求的燃油。
02-02 斷開前氧傳感器插頭T4g,檢查T4g連接插頭是否有裂痕和異常,針腳是否腐蝕、生銹。
是
清潔連接插頭及針腳。
否
進行第02-03步。
02-03 拆下前氧傳感器,目視前氧傳感器是否有積碳、是否發白、發棕或發黑。
是
應更換氧傳感器、更換燃油、清潔油箱。
否
進行第02-04步。
02-04 連接前氧傳感器插頭T4g和連接車輛診斷儀,啟動發動機,使發動機轉速保持在2500rpm 左右暖機兩分鐘以上,直至發動機水溫達到80℃。
02-05 讀取前氧傳感器數據流,確認氧傳感器響應時間是否正常。
是
進行第02-06步。
否
更換氧傳感器。
02-06 檢查前氧傳感器前端排氣管是否漏氣。
是
維修漏氣部件。
否
進行第02-07步。
02-07 檢查進氣管路真空管及進氣歧管是否漏氣。
是
維修漏氣部件。
否
進行第02-08步。
02-08 拆卸噴油器,檢查噴油器是否堵塞。
是
更換故障噴油器。
否
進行第02-09步。
02-09 連接燃油壓力表檢查燃油系統是否堵塞。
是
清洗燃油系統管路。
否
進行第02-10步。
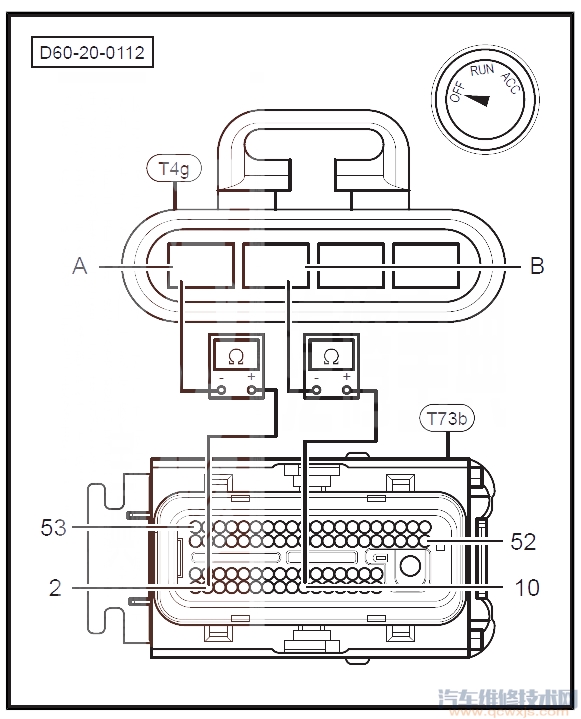
02-10 斷開前氧傳感器插頭T4g和發動機控制單元插頭T73b
02-11 測量T73b/2針腳到T4g/a針腳、T73b/10針腳到T4g/b針腳之間導線是否出現斷路情況。
是
維修故障導線。
否
進行第02-12步。
02-12 測量前氧傳感器插頭T4g/a針腳、T4g/b針腳與車身接地之間導線是否出現短路情況。
是
維修故障導線。
否
進行第02-13步。
02-13 檢查發動機控制單元供電電路與接地電路是否正常。
是
進行第02-14步。
否
維修故障導線。
02-14 更換一個已知良好的前氧傳感器,進行路試;重新進行診斷,讀取故障碼,確認故障碼及癥狀是否存在。
是
進行第02-15步。
否
前氧傳感器損壞,更換前氧傳感器。
02-15 更換發動機控制單元,進行路試;重新進行診斷,讀取故障碼,確認故障碼及癥狀是否存在。
是
從其它癥狀查找原因。
否
更換發動機控制單元。
www.011315.cn











