科魯茲1.6/1.8發動機正時皮帶拆卸與校對方法
09-16
科魯茲1.6/1.8發動機正時皮帶拆卸與校對方法如下:
1.拆下正時皮帶上前蓋。
2.使用扳手按發動機旋轉方向旋轉曲軸皮帶輪,直至標記(1)與1氣缸上止點位置(下圖中標記)對齊。
3.拆卸凸輪軸蓋。
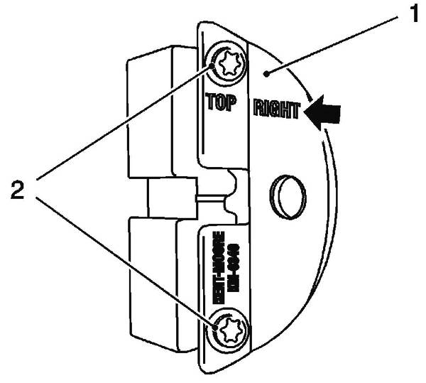
4.準備專用凸輪軸鎖止工具,編號EN-6340(下圖所示),如沒有專用工具按照步驟5注意中的方法進行標記。鎖止工具EN-6340右半部分上有字母“right右(下圖箭頭所示)”。拆卸鎖止工具兩個螺栓,將鎖止工具左、右部分分開。
5.將鎖止工具EN-6340左右側分別插入凸輪軸位置執行器調節器中。
注意:
(1)在此過程中進氣凸輪軸位置執行器調節器上的點式標記(上圖中的數字4標記處)與鎖止工具EN-6340左側(上圖中的數字1)的凹槽不一致,而是必須略高于凹槽。
(2)排氣凸輪軸位置執行器調節器上的點式標記(上圖中的數字3標記處)與鎖止工具EN-6340右側(上圖中的數字2)的凹槽必須一致。
(3)如沒有鎖止工具,在曲軸1缸上止點位置對其后用記號筆在凸輪軸位置執行器上標記出對應位置,并在正時皮帶上也進行標記。
6.沿發動機旋轉方向標記在正時皮帶上做標記。
7.使用六角扳手(下圖中的1)對正時皮帶張緊器(下圖中的2)施加張力,并安裝鎖銷3,使皮帶張緊器失去張緊力。拆卸正時皮帶。
- 前文: 雪佛蘭科魯茲11款1.8正時皮帶校對方法
- 后文: 氣門傳動組由什么組成?




