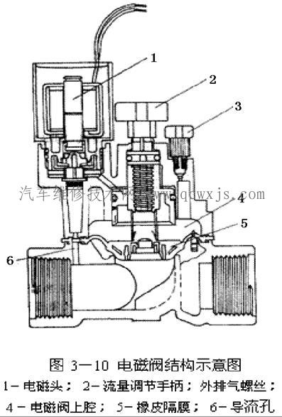
燃油蒸汽回收系統電控電磁閥的檢修
汽車電器維修
2022-10-28 23:33:54
燃油蒸汽回收系統電控電磁閥的檢修檢查時啟動發動機,預熱后保持怠速運轉,然后拆下蒸汽回收罐上的真空軟管,管內應無吸力;如果有吸力而電磁閥線束插頭上卻無電壓,則表明電磁...











































