目前,汽車上采用的氧傳感器有氧化鈦(TiO2)式和氧化鋯(ZrO2)式兩種。
氧化鋯式氧傳感器又分為加熱型氧傳感器和非加熱型氧傳感器兩種。氧化鈦式氧傳感器本身帶有一個電加熱器。
大部分汽車使用帶加熱器的氧傳感器,這種傳感器是在原來傳感器的基礎上,增加了一個陶瓷加熱元件用于加熱傳感器,可在發動機啟動后的20~30s內迅速將氧傳感器加熱至工作溫度,擴大了空燃比閉環控制的工作范圍,故又稱為加熱型氧傳感器。
氧傳感器有一線制、二線制、三線制、四線制4種類型。
一線制只有一根信號線與發動機ECU連接,傳感器的另一極直接搭鐵;
二線制的兩根線均與ECU相連,一根為信號線,另一根進入ECU后搭鐵;
三線制、四線制均屬于加熱式氧傳感器,由于添加了兩根加熱電阻的接線,和氧傳感器信號線組合成為三線制或四線制。
加熱電阻的兩根接線,一根直接接控制繼電器或主繼電器,接受12V加熱電源,一根由ECU控制搭鐵端,控制加熱電阻加熱時間。氧傳感器加熱器是正比例系數熱敏元件,在傳感器與線束斷開的情況下,可以通過檢測加熱器的阻值來對加熱元件進行檢測。
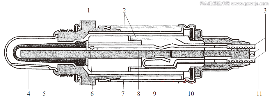
▲ 氧傳感器的結構1—殼體;2—陶瓷管支承;3—加熱電阻電纜;
4—帶槽的保護套;5—二氧化鋯;6—接觸元件;7—外保護套;9—加熱元件;9—電加熱觸頭;10—彈簧墊圈;11—氧傳感器信號
隨著排放法規越來越嚴格,現在越來越多的車輛都在三元催化轉化器的前后端分別安裝了氧傳感器,稱為雙氧傳感器系統,一個在三元催化轉化器之前,稱作為主氧傳感器或上游氧傳感器,用于混合氣反饋控制,發動機電控單元根據主氧傳感器的反饋信號,增加或減少噴油量,將實際空燃比控制在理論空燃比附近;
另一個位于三元催化轉化器之后,稱作副氧傳感器或下游氧傳感器,用于監測三元催化轉化器的催化凈化效率。
當三元催化轉化器損壞時,其轉化效率喪失,這時在其前后的排氣管中的氧氣量十分接近,幾乎相當于沒有安裝三元催化轉化器,前、后兩個氧傳感器的信號電壓波形就趨于相同,并且電壓波動范圍也趨于一致,此時表明三元催化轉化器轉化能力下降。






