汽車原理機械動圖大放送,勝讀十年書!
1、變速箱工作原理

手動變速箱主要由齒輪和軸組成,通過不同的齒輪組合產生變速變矩;而自動變速箱AT是由液力變扭器、行星齒輪和液壓操縱系統組成,通過液力傳遞和齒輪組合的方式來達到變速變矩。
2、阿克曼轉向設計

阿克曼轉向幾何設計的車輛,沿著彎道轉彎時,利用四連桿的相等曲柄使內側輪的轉向角比外側輪大大約2~4度,使四個輪子路徑的圓心大致上交會于后軸的延長線上瞬時轉向中心,讓車輛可以順暢的轉彎。
3、離合器的動畫



離合器位于發動機和變速箱之間的飛輪殼內,用螺釘將離合器總成固定在飛輪的后平面上,離合器的輸出軸就是變速箱的輸入軸。在汽車行駛過程中,駕駛員可根據需要踩下或松開離合器踏板,使發動機與變速箱暫時分離和逐漸接合,以切斷或傳遞發動機向變速器輸入的動力。
4、差速器工作原理

汽車差速器能夠使左、右(或前、后)驅動輪實現以不同轉速轉動的機構。主要由左右半軸齒輪、兩個行星齒輪及齒輪架組成。功用是當汽車轉彎行駛或在不平路面上行駛時,使左右車輪以不同轉速滾動,即保證兩側驅動車輪作純滾動運動。差速器是為了調整左右輪的轉速差而裝置的。
5、齒輪齒條式轉向機構

轉動轉向盤時,可帶動小齒輪轉動,這個小齒輪與一條齒條相吻合,帶動齒條左右直線運動,并推動轉向輪左右擺動,從而實現轉向功能。齒輪不是簡單的平齒輪,而是特殊的螺旋形狀,這可改善轉向時的柔順感。
6、汽車發動機的活塞運動,上下的活塞運動轉化成車輪轉動的動力


7、曲軸運動

曲軸材料是由碳素結構鋼或球墨鑄鐵制成的,有兩個重要部位:主軸頸,連桿頸,(還有其他)。主軸頸被安裝在缸體上,連桿頸與連桿大頭孔連接,連桿小頭孔與汽缸活塞連接,是一個典型的曲柄滑塊機構。
8、發動機機油沖洗機

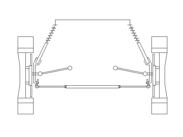
9、汽車懸掛的工作圖

懸掛系統就是指由車身與輪胎間的彈簧和避震器組成整個支持系統。懸掛系統應有的功能是支持車身,改善乘坐的感覺,不同的懸掛設置會使駕駛者有不同的駕駛感受。外表看似簡單的懸掛系統綜合多種作用力,決定著轎車的穩定性、舒適性和安全性,是現代轎車十分關鍵的部件之一。
寫評論 ,看見獨特的自己!
- 前文: 汽車傳感器解讀,不學習咋進步呢?
- 后文: 一次說透發動機,不好好學習,還想掙大錢?
相關文章
發動機冒黑白煙是什么原因
本田雅閣四缸機分電器點火
一、四缸機分電器點火:本田雅閣1、組成分電器內有3個傳感器,CYL、TDC和CKP,模塊和高壓包也位于分電器內。2、傳感器的作用:CYL為判缸傳感器,作用是判別1缸壓縮上止點(4缸排氣上止...
- 精彩推薦
-
- 最近發表






